文档支持接入指南

语音通知/语音验证码接入指南

最近更新时间:2020-03-01 20:57:53

语音验证码和短信验证码作用是一样,都是提供验证信息,语音验证码的优势在于达到率高和不易拦截等特性,经常和短信验证码结合使用,相互补足。

1.产品概述

语音验证码是通过语音电话直接拨打用户手机,电话语音播报验证码的一种方式。语音验证码相比于短信验证码更不易被拦截且到达率更高。

1.1产品优势

超高稳定性

99.9%的到达率,从触发到用户只需3s左右,24小时系统监控,实时异常预警,保证平台的正常运行。

超方便接入

10658云通信的语音验证码开放并兼容多种语言的API接口,免运维、易开发,等待您的快速接入。

2.接入流程

2.1入驻10658云通信

账户注册与登录

10658云通信短彩信平台注册登录之后免费试用10条语言验证码,注册地址在网站的右上角,或直接访问:https://cloud.10658.com.cn

10658云通信平台注册

功能试用

新注册账户有短信验证码、语言验证码、群发短信、群发彩信等各10条的服务体验。

左侧菜单栏“常用工具”--“功能&接口测试”--“语音验证码功能测试”,输入手机号码即可体验语音验证码服务。

企业认证

根据运营商及有关部门监管要求,平台针对未进行企业认证的客户仅提供试用功能,完成认证后将开放平台全部功能。注:资质认证必填信息:公司名称、公司简称、公司地址、营业执照和企业logo。

2.2创建语音验证码接口资源

设置签名

首页--账户信息中,可设置签名报备

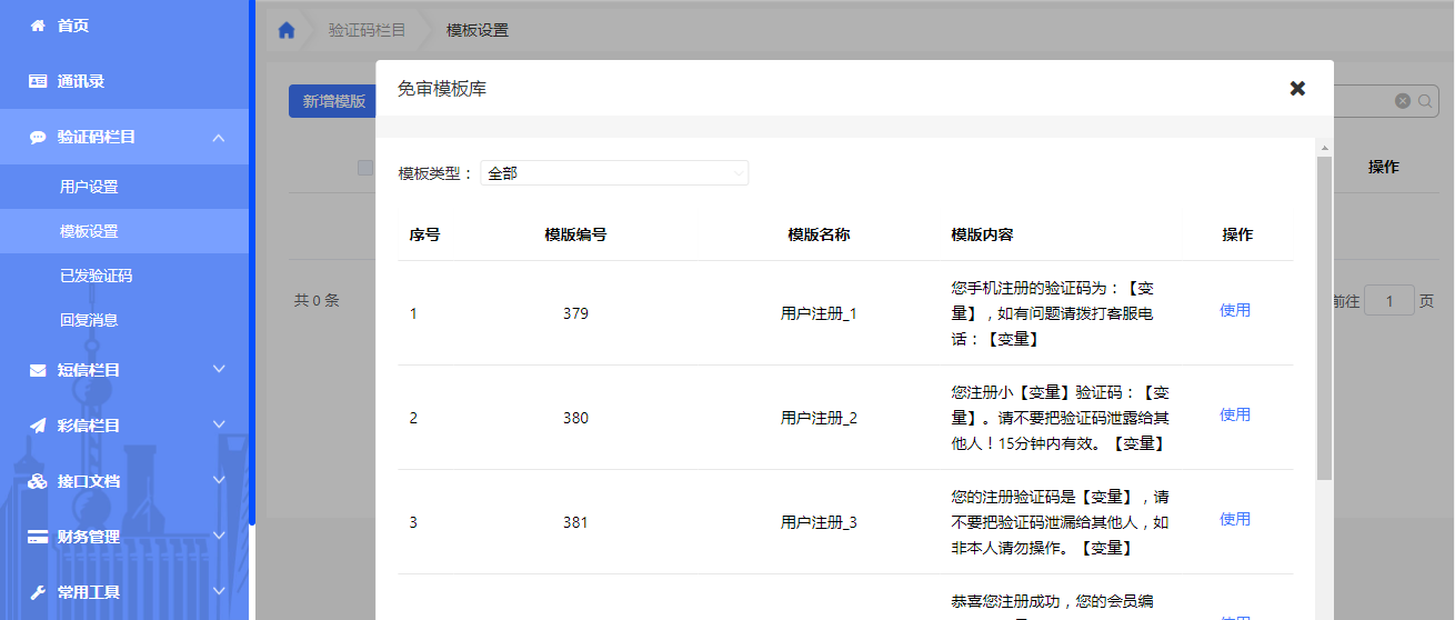
配置模板

左侧菜单栏“验证码栏目”--“模板设置”,签名设置好之后就是需要选择使用的模板,10658云通信的短彩信平台中预设了170多个模板,用户可根据预设模板修改或者自定义编辑。

条数充值

“首页”--“语音验证码”--“去充值”可自助充值,滑动进度条可自动结算出价格,注:在线充值支持:微信支付和支付宝支付。

预警设置

左侧菜单栏“安全设置”--“预警设置”。预警设置可以对每天最大发送量、剩余天数提醒、单个手机号每天最大的发送量、预警通知手机号码(目前最多可支持8个手机号)

2.3 接口开发调试

获取AppKey

从系统安全性上考虑,平台在初始化用户账号时,为每个账号分配了一个AppKey(Application Key),用户在调用语音验证码接口时,将会校验AppID与AppKey的匹配。AppKey在控制台验证码栏目->用户设置模块获取,获取AppKey需通过账号联系人手机进行校验,如手机号发生变更,需及时更改。

3.产品规则

3.1 个人与企业认证规则

为响应国家政策号召,保障用户权益,短彩信平台暂不对个人用户开放,如对您造成不便敬请谅解。

企业用户未认证之前,仅提供平台试用功能,限制发送短信内容及短信条数,不可自定义模板,仅允许使用系统内置模板。企业可以提交营业执照等信息完毕后,开放平台全部功能,

3.2 语音验证码安全规则

系统默认规则:同一个系统账号每天最大发送量平台默认不作限制,同一个系统账号对同一个手机号码发送语音验证码,默认限制5条/天,即一个手机号码通过10658云通信短彩信平台只能收到5条/天。如以上规则不满足您的业务需求,请登录平台->系统管理->安全设置调整安全规则。

数据推送规则:短彩信平台默认不推送回执信息及上行回复信息,只作数据留存,如需自动推送回执信息及上行回复信息到您的系统请登录平台->系统管理->安全设置设置数据推送地址,设置完毕后,产生业务回执时平台将实时推送数据。(语音验证码无上行回执)

余额预警规则:您可通过登录平台->系统管理->安全设置配置账户余额预警阀值,账户余额低于配置阀值时,将会向您设置的提醒手机号、绑定的微信公众号推送提醒消息。

3.3 内容规范与账号封禁规则

内容规范规则:使用语音验证码服务时,企业针对用户验证码模板必须符合国家法律法规的要求,同时配合系统监控,防范在语音内容中出现的违反国家法律法规要求的相关内容。

违规限制规则:如多次发现违反规则的语音内容,平台将会依据相关策略对用户进行账号冻结,并视情况扣罚用户账户余额或追究其相关责任。

账号冻结规则: 账号冻结后,该用户无法继续使用短彩信平台及服务,如该账号中包含短信服务的资源包、优惠券等,也无法继续使用。账号冻结后,请与客服沟通协商后续处置事宜。

4.数据统计

4.1已发验证码

左侧菜单栏“验证码栏目”--“已发短信”可查看具体的发送数据

产品分类

进入控制台